1综述
本实验测定以恒定速率从管道的金属基底上剥离涂层所需要的力。
2 仪器
所需仪器包括:
拉力试验机,用于记录剥离拉力,提供速率为10mm/min的拉力,如图1或2所示;
切割工具(如小刀);
图1或2所示工具。

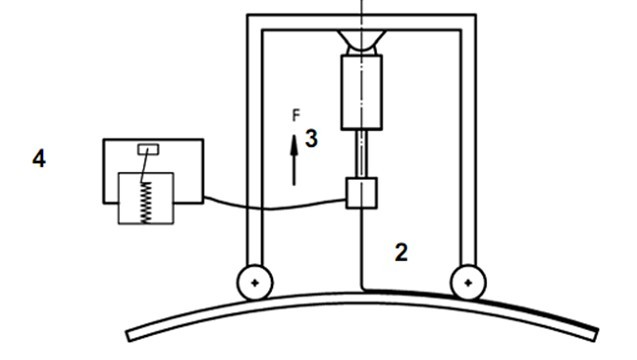
图1实验仪器(小管径)
1. 钢管圆剖面 2. 涂层条形剥皮3.剥离拉力 4.读数单元
图2实验仪器(大管径)
1.已涂敷钢管表面 2.涂层条形剥皮 3.剥离拉力 4.读数单元
3 实验步骤
3.1 综述
实验温度要与表7一致。
温度应该在钢管外表面的涂层条形剥皮的根部用合适的探头测量。
通过一个10mm/min的恒定剥离拉力,利用图形记录剥离拉力,至少140mm。
3.2 小管径钢管
切一段长200mm的管段。沿环向将涂层划开长至少160mm,宽20mm到50mm的长条。
管段在绕轴转动时不能有阻力,如图1示。条形涂层的末端要紧固在试验机抓钩上,垂直于转轴拉伸。
3.3大管径钢管
实验过程中,钢管要固定支撑,防止滚动。
切一段长200mm的管段。沿环向将涂层划开长至少160mm,宽20mm到50mm的长条。条形涂层的末端要紧固在试验机抓钩上,垂直于转轴拉伸。
4 结果
将140mm剥皮的剥离拉力数据按每20mm一段分成7段,去除*段和后一段。利用剩下的数据计算剥离强度。
100mm长度上的算术平均值为平均剥离强度。如果该值不是自动测定的,则算术平均值由20mm同心带估算出。
平均剥离强度要符合表7的要求,100mm长度上的单个点其值不能低于值的30%。